Naviják pojízdný na solární bazénovou plachtu 2

Naviják pojízdný na solární bazénovou plachtu 2,6 - 4,3m

Velmi prodávaný produkt Naviják pojízdný na solární bazénovou plachtu 2,6 - 4,3m od originálního výrobce ve slevě 7 349 Kč. Zobrazit více »

Dostupnost: Skladem > 5 ks
7 349 Kč
vč. DPH
Do obchodu »
home
Doprava ZDARMA

pro objednávky nad 2.350 Kč

sync
Vrácení zboží do 14 dní

zdarma a bez rizika

thumbs-up
Prověřený český obchod

s kvalitními produkty

cart
Nakupujte kdykoli

máme otevřeno 24 hodin denně

Popis produktu

Názor bazénového specialisty - recenze

  • + Snadná manipulace a mobilita
  • + Nastavitelná délka od 2,6 do 4,3 m
  • + Vyrobeno z odolného eloxovaného hliníku
  • - Vyžaduje správnou instalaci pro optimální stabilitu

„Pojízdný bazénový naviják na solární plachtu je skvělým řešením pro snadnou manipulaci s vaší bazénovou plachtou. Díky pevné hliníkové konstrukci a nastavitelné délce se jedná o všestrannou a dlouhodobou investici pro majitele bazénů.“

Tým Poolservis

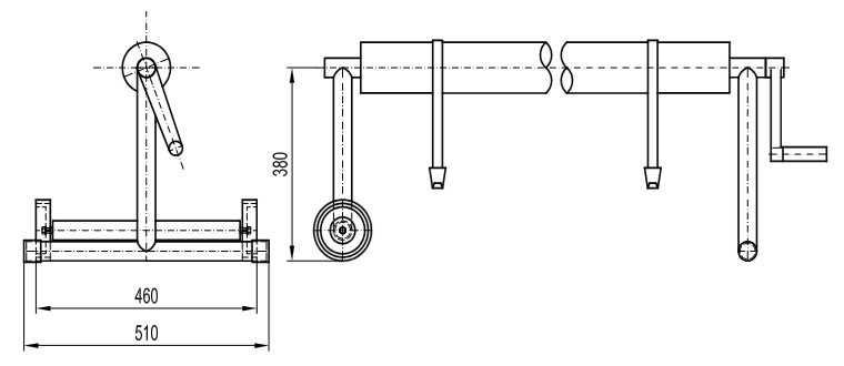
rozkres naviják

Pohodlný a praktický design

Pojízdný bazénový naviják na solární plachtu je navržen pro snadnou manipulaci a skladování vaší bazénové plachty. Vyroben z kvalitního eloxovaného hliníku, zajišťuje odolnost a dlouhou životnost. 

  • Solární plachtu ukotvíte popruhy k navijáku.
  • Navíjením pak plachtu natočíte na tubus a nedochází k mačkání plachty.
  • Plachtu tak může navíjet jedna osoba.

Nastavitelná délka

Naviják disponuje nastavitelnou délkou od 2,6 do 4,3 metru, což ho činí vhodným pro různé velikosti bazénů. Teleskopická konstrukce umožňuje plynulé nastavení dle potřeby.

Jednoduché použití

Navíjecí mechanismus umožňuje snadné smotání a rozvinutí solární plachty, což vám ušetří čas i námahu. Díky stabilním kolečkům lze naviják jednoduše přemístit dle potřeby jednou osobou.

Odolnost a stabilita

Díky konstrukci z eloxovaného hliníku je naviják odolný proti korozi a připraven na dlouhodobé používání. Pevný rám zajišťuje stabilitu během použití a zabraňuje nechtěnému pohybu.

Závěr

Pojízdný bazénový naviják na solární plachtu 2,6 - 4,3 m je ideálním řešením pro majitele bazénů, kteří hledají efektivní a praktický způsob manipulace s plachtou. Díky odolné konstrukci, nastavitelné délce a snadné mobilitě přináší dlouhodobou hodnotu a pohodlí.

 

Naviják pojízdný na solární bazénovou plachtu 2,6 - 4,3m od oblíbené značky Poolservis - tento artikl je v tento okamžik ve slevové akci za 7 349 Kč. Nabízíme nejlepší poměr cena výkon. Vy neplatíte nic navíc!

Další parametry Naviják pojízdný na solární bazénovou plachtu 2,6 - 4,3m

  • Název: Naviják pojízdný na solární bazénovou plachtu 2,6 - 4,3m
  • Výrobce: Poolservis
  • ID: Z10-0201
  • Cena: 7 349 Kč

Podobné produkty

Naviják pojízdný na solární bazénovou plachtu 2,6 - 4,3m

Další produkty od výrobce

Poolservis

Naviják pojízdný na solární bazénovou plachtu 2,6 - 4,3m značky Poolservis - toto zboží si můžete nechat poslat extra výhodně za 7 349 Kč. Ve slevě nabízíme nepřeberné množství dalších položek. Na vámi zadanou adresu budou BEZPLATNĚ dopraveny objednávky s hodnotou 2.350 Kč a více. Neplaťte jinde víc, než musíte.

Prohlédněte si všechny produkty od přední značky .

Možnosti dopravy a platby

Doprava

  • Osobní odběr Pardubice na adrese Dražkovice 212, Pardubice - zdarma
  • Doprava zdarma po celé ČR při objednávce nad 2350,-
  • DPD 0 - 15 kg - 109 Kč; 15 - 30 kg - 119 Kč; 31 - 60 kg - 230 Kč; 61 - 90 kg - 350 Kč
  • Česká pošta - Balík - Doporučený dopis 59 Kč; 0 - 30 kg - 119 Kč; 30 - 60 kg - 238 Kč; 60 - 90 kg - 357 Kč
  • Česká pošta - Balík na poštu 0 - 30 kg - 115 Kč; 30 - 60 kg - 230 Kč; 60 - 90 kg - 345 Kč
  • Česká pošta - Balík do Balíkovny - 74 Kč
  • Odběrné místo Zásilkovny - 69 Kč
Platba

  • Dobírka- 32 Kč
  • Platební karta - zdarma
  • Bankovním převodem - zdarma